 
| 
					Digital optical sensor based on the principle of fluorescence quenching, with or without Memosens protocol
				 
						 Application 
					• Wastewater treatment plants
				 
					– Oxygen measurement and regulation in the activated sludge basin for a highly
				 
					efficient biological cleaning process
				 
					– Monitoring the oxygen content in the wastewater treatment plant outlet
				 
					• Water monitoring
				 
					Oxygen measurement in rivers, lakes or seas as an indicator of the water quality
				 
					• Water treatment
				 
					Oxygen measurement for status monitoring, e.g. of drinking water (oxygen
				 
					enrichment, corrosion protection etc.)
				 
					• Fish farming
				 
					Oxygen measurement and regulation for optimum living and growth conditions
				 
						 Your benefits 
					• Optical technology:
				 
					– Minimum maintenance
				 
					– Maximum availability
				 
					• Sensor with digital signal processing:
				 
					– Calibration data saved in sensor
				 
					– High degree of EMC protection thanks to digital communication with the
				 
					transmitter
				 
					• Extended maintenance intervals and a high degree of longterm stability
				 
					• Intelligent self-monitoring guarantees reliable measured values
				 
					• No flow needed - measurement possible in still water
				 
					• COS61D - the Liquiline sensor
				 
					– Plug&Play: Safe communication based on Memosens protocol
				 
					– Optionally with M12 plug for fast connection to the transmitter
				 
					• COS61 - the Liquisys sensor
				 
					– Compatible with tried-and-tested COS31 with COM2x3W: Easy measuring point
				 
					changeover to optical technology
				 – Compatible with COS41 with COM2x3D with conversion kit 
					 | |
| 
					Measuring system
				 | 
					COS61D 
				 
					A complete measuring system consists of the following components at least:
				 
					• Oxymax COS61D oxygen sensor
				 
					• Liquiline CM44x multi-channel transmitter
				 
					• Sensor cable, optionally available with M12 connector
				 
					• Assembly, e.g. flow assembly COA250, immersion assembly CYA112 or
				 
					retractable assembly COA451
				 
					Optionally:
				 
					• Assembly holder Flexdip CYH112 for immersion operation
				 
					• Extension cable CYK11
				 
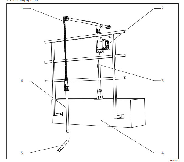
					• Cleaning system
				 | 
|   | |
| 
					1 Sensor cable
				 
					2 Liquiline CM44x
				 
					3 Flexdip CYH112
				 | 
					4 Basin rim with railing
				 
					5 Oxymax COS61D
				 
					6 FlexdipCYA112
				 | 
| 
					COS61
				 
					A complete measuring system comprises:
				 
					• Oxymax COS61 oxygen sensor
				 
					• Transmitter, e.g. Liquisys COM2x3-W
				 
					• Sensor cable
				 
					• Assembly, e.g. flow assembly COA250, immersion assembly CYA112 or
				 
					retractable assembly COA451
				 
					Optionally:
				 
					• Flexdip CYH112 assembly holder for immersion operation
				 
					• VS junction box (for cable extension)
				 
					• Cleaning system
				 | |
|  | |
| 
					Input
				 | |
| Measured values | 
						Dissolved oxygen [mg/l, µg/l, ppm, ppb or %SAT or hPa]
					 | 
| 
					Measuring ranges
				 | 
					Measuring ranges apply for 25 ˚C (77 ˚F) and 1013 hPa (15 psi)
				 
					With Liquiline CM44x, CM44xR, CM44P or with Liquisys COM2x3-W:
				 
					• 0 to 20 mg/l
				 
					• 0 to 400 hPa
				 
					• 0 to 200 % SAT
				 | 
| 
						 Power supply | |
| 
					Electrical connection
				 | 
					COS61D
				 
					Connection data
				 
					• Sensor cable connected directly to the terminal connector of the basic module
				 
					• Optional: sensor cable plug connected to the M12 sensor socket of the transmitter
				 
					With this type of connection, the transmitter is already wired at the factory.
				 | 
|  | |
| 
					COS61 to field device
				 
					You connect the sensor directly to the transmitter via the special measuring cable with SXP
				 
					connector.
				 | |
|   | |
|  | |
|   | |
| 
					Operating life of sensor cap
				 
					>2 years (under reference operating conditions, protect against direct sunlight)
				 | |
|   | 
|   | 
| COV61-2B1 replace 51518598 use for COS61D with serial number ending O00 | 
|   | 
| COV61-2C1 replace 51518598 use for COS61D with serial number ending O01 | 
|   | 
	
Name: Sophie Wang
Mobile:+86 18681453433
Tel:+86 18681453433
Whatsapp:8613244706006
Email:sophie@meterbook.com
Add:Jingying Plot,Baoan District,Shenzhen City,Guangdong Province,China
We chat
